9 月 10 日凌晨 1 点,苹果将发布最新一代 iPhone 16——而就在 13 个小时后,大洋彼岸的中国深圳,华为将举行 「见非凡品牌盛典及鸿蒙智行新品发布会」。
苹果和华为,大洋彼岸的两家科技巨头,在同一天杠上了。
苹果预计会发布 iPhone 16 系列、Apple Watch 等多款产品,而华为跟鸿蒙智行已经官宣将在这场发布会上推出问界 M9 五座版,但最重磅的,无疑是华为旗下 「非凡大师」 系列的新品——传闻已久的华为三折叠手机。
一年一度的科技圈 「春晚」,已是 「山雨欲来风满楼」。
华为三折叠手机,可能是折叠手机究极体
上个月,华为余承东使用三折叠手机的照片曝光,从谍照可以看到这款三折叠手机相当轻薄,而展开后屏幕面积很大。
随后,余承东还曾在享界 S9 首批车主交付仪式上,大方回应关于三折叠手机何时问世的问题:9 月份会有的。
关于三折叠手机的念想,华为已经准备了五年。余承东曾在董宇辉的直播间里爆料:
下一代的折叠屏,别人都能想得到,但做不出来。我们已经想了五年了,终于可能快要出来了。
昨天,余承东再一次在微博上强调:「华为最具引领性、创新性、颠覆性的产品来了!这是别人想到但做不到的划时代产品,5 年的坚持与投入,我们将科幻变成了现实。华为巅峰之作,敬请期待!」
五年前,华为发布了第一代折叠屏手机华为 Mate X,彼时折叠手机还较为稀有,对于外折还是内折的设计也仍在探索阶段。
五年后,主流的折叠手机已经都是内折叠方案,而售价也从 15000 元往上杀进了 6000 元区间,无论是技术还是成本,折叠手机都已经趋于成熟。
但折叠手机的产品形态探索,还远远没有到头。
关于三折叠手机的形态,基本上分为两种折叠形式——S 字型外折、G 字型内折。作为折叠屏幕最大的供应商之一,三星曾在 2022 年的 CES 上展示过三折叠手机的两种形式方式。
这款名为三星 Flex S 的三折叠原型机,就采用了 「S」 字折叠的方式,手机的外屏是折叠屏的一部分,展开之后,折叠藏在内侧的另外两块屏幕和外屏共同组成了一块超大屏:

另外这款名为三星 Flex G 的三折叠手机,采用将两边的手机屏折向中间的 「G」 字折叠方式,这显然对铰链、屏幕提出了更高的要求,增加了量产的难度,看上去也更加笨重:

此外,也有二者合一的产品形态。
今年 5 月,TCL 华星也曾在 2024 SID 活动中展示了 Tandem 三折叠屏手机原型,能在 「S」 字和 「G」 字折叠方式之间自由切换。
但这种 「可内可外」 的折叠方式无疑对屏幕的柔性和耐用性、铰链的强度提出了更高的要求。

综合来看,「S」 字形折叠结合了目前已有的内折和外折技术,还能有更紧凑的整体结构,最有可能会成为主流的三折叠方案。
而在今年 3 月华为发布的一份三折叠手机专利中,也印证了我们的猜想。
华为提交的专利申请书显示,这款设备包含了三个壳体、两个铰链和一个柔性屏。每个壳体厚度不等,从而降低了设备整体的厚度,减轻了重量,也可以提供更好的握持手感。


关于摄像模组的处理,专利书中提到了几种不同的处理方式。
其中一种是在壳体上设置凸起部位来安装前置摄像模组,并在其他壳体对应位置布置凹陷部位,这样在设备折叠时凸起部分就可以隐藏在凹陷部位中,从而降低折叠状态下的整体厚度。
另一种策略是,如果壳体被设置成楔形,摄像模组将会被安装在较厚的那块壳体上,在一定程度上减少模组厚度对设备整体厚度的影响。

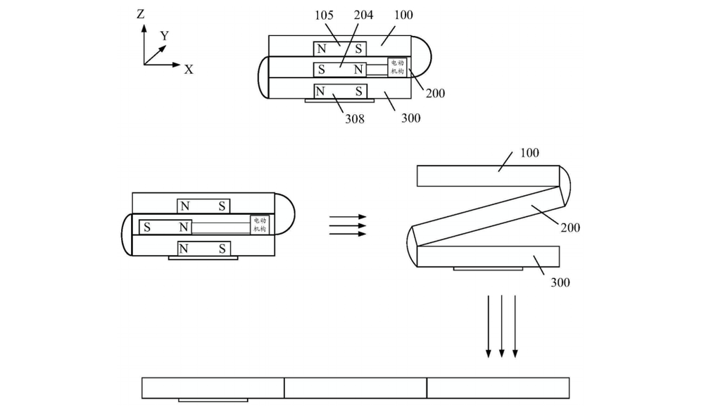
专利说明书还提到了通过一个开关自动展开折叠屏的操作方式,这主要利用了壳体中的磁性部件之间的相互作用实现。显然,多加一块屏幕意味着每次展开/闭合都要多一步操作,而利用磁吸的助力或许是个不错的选择。

从专利不难看出,华为对于三折叠手机的考量是非常全面的,摄像头如何摆放、折叠屏如何展开、怎么样更好地让产品轻薄,都有细致的研究,其他诸如电池、天线、柔性电路板等部分的设计也都有非常详细的介绍,有的地方还会出现多种不同的设计方案。
我们之前曾在文章中认为,三折叠手机才是折叠手机的最终形态,在内容适配性及使用习惯上更符合人们对于便携大屏的需求。
就在上周,传音发布了他们的三折叠概念手机 TECNO PHANTOM ULTIMATE 2,展示了三折叠手机在不同形态和场景中的广泛适用性。

在展示视频中,Phantom Ultimate 可以将手机的一个折面 (整块屏幕的三分之一)贴合在桌面上,作为键盘或是手写笔的输入空间,剩下的两面垂直竖起,成为这台设备的显示器,整体呈现笔记本电脑的形态。

由于屏幕扩大到 10 英寸左右,甚至可以兼容触控笔操作,带来接近平板电脑的使用体验:

同时,三折叠手机还能应对一些双人使用的场景,比如利用双屏进行面对面的实时人工智能翻译,帮助用户跨越语言上的障碍。

换言之,三折叠手机的使用场景,能扩展出不少变化——可以一折打电话、二折当电脑,三折作平板,更妙的是,我们能把这些全部装进口袋。

尽管目前,关于华为三折叠手机的具体参数详情仍未可知,但既然华为将其定义为 「非凡大师」 系列产品,其定位显然就是华为的最高端产品线。
非凡大师 (Ultimate Design)系列是华为推出的全新高端旗舰品牌,目前有华为 Mate60 RS 非凡大师、华为 WATCH 非凡大师两款产品,两款产品都采用了独具一格的设计,且在用料上也是采用了诸如陶瓷、黄金这样更为奢华的材质,以彰显其定位。
显然,华为的三折叠手机也会走这一路线,无论是产品配置、设计还是用料,各方面素质都会是天花板级别。
近一年来,华为跟苹果的发布会已经多次撞车,但显然这场发布会,是两边拳头最硬的一次——是稳中求变的 iPhone 16 更受瞩目,还是大刀阔斧创新的华为三折叠手机更胜一筹?
想必今年的科技圈春晚,会比往年来得更热闹一些。















