2026 年 4 月 3 日 星期五
  • 登录
  • 注册
周天财经
广告
  • 首页
  • 24 小时
  • 世界
  • 商业
  • 基金
  • 期货
  • 股票
  • 行业新闻
  • 黄金
没有结果
查看所有结果
  • 首页
  • 24 小时
  • 世界
  • 商业
  • 基金
  • 期货
  • 股票
  • 行业新闻
  • 黄金
没有结果
查看所有结果
周天财经
没有结果
查看所有结果
首页 行业新闻

宏海科技:销售、采购均深度捆绑美的、海尔,97% 员工学历在本科以下,大量员工或未缴纳社保|IPO 观察

2024 年 8 月 19 日
在 行业新闻
阅读时间: 1 min read
阅读:879
A A


近期,武汉宏海科技股份有限公司 (下称 「宏海科技」) 披露了招股说明书,拟北交所 IPO 上市,公开发行不超过 2500 万股。公司此次欲募集 18750 万元分别用于热交换器及数控钣金智能制造基地建设项目、家用电力器具配件研发中心建设项目、补充流动资金。

钛媒体 APP 注意到,宏海科技极度依赖美的、海尔,每年至少有 7 成的销售和采购均是来自这两家公司,这也埋下了大客户业绩变动带来的风险。同时在员工组成机构上,宏海科技近 97% 员工的学历在专科及以下。可能因为大量员工或未缴纳社保带来的劳资关系紧张,近几年宏海科技还多次因劳务纠纷与员工对簿公堂。

7 成销售和采购来自美的、海尔

宏海科技的主营业务为空调结构件、热交换器、显示类结构件等家用电器配件产品的研发、设计、制造和销售。

2020 年-2022 年和 2023 年 1-6 月 (下称 「报告期」),宏海科技分别实现营业收入 1.39 亿元、1.88 亿元、2.53 亿元、1.88 亿元,净利润分别为 2404.34 万元、2562.63 万元、2665.62 万元、2993.88 万元,业绩持续增长。

钛媒体 APP 注意到,宏海科技的部分产品存在双经销商业模式,即客户将一批原材料销售给公司后,公司根据客户定量耗用要求,使用双经销材料生产对应规模的产成品并销售给客户的商业模式,对于该部分产生的销售收入,宏海科技采用净额法核算,将向双经销客户销售时结转的营业成本中的双经销材料金额进行抵销,调减了相应的营业收入及营业成本。

换言之,若未进行对冲 (下称 「总额法」),报告期内,宏海科技实际上产生的销售收入分别为 2.9 亿元、4.43 亿元、5.85 亿元、4.63 亿元,数据较之前好看不少。

值得一提的是,宏海科技的业绩极度依赖公司的前五大客户。在总额法下,报告期内,宏海科技向前五大客户产生的销售收入分别为 29640.38 万元、45702.16 万元、61320.55 万元、47928.44 万元,分别占当期营业收入的 98.08%、97.63%、98.09%、97.7%。

其中向美的集团产生的销售收入分别为 18855.82 万元、30599.27 万元、44336.27 万元,分别占当期营业收入的 62.4%、65.37%、70.92%、72.84%;向海尔集团产生的销售收入分别为 4122.35 万元、6591.01 万元、7687.12 万元、6703.82 万元,分别占当期营业收入的 13.64%、14.08%、12.3%、13.67%。也就是说,美的集团和海尔集团两家公司每年至少给宏海科技贡献超过 7 成的收入。

需要指出的是,美的集团、海尔集团除了长期霸占着宏海科技的前两大客户头衔之外,其还同时霸占着宏海科技的前两大供应商。报告期内,宏海科技向美的集团采购的金额分别为 14273.47 万元、26340.57 万元、37462.64 万元、28256.78 万元,分别占当期采购总额的 63.2%、68.29%、72.97%、73.54%;向海尔集团采购的金额分别为 3034.32 万元、5473.25 万元、6205.25 万元、4147.09 万元,分别占当期采购总额的 13.48%、14.19%、12.09%、10.79%。也就是说,宏海科技每年向美的集团和海尔集团至少采购 7 成的原材料。

通过分析销售端和采购端可以发现,宏海科技几乎就是一家被美的集团和海尔集团 「拖着」,目前才能带着小幅增长的业绩赴北交所 IPO 的公司。

大量员工或存在未缴纳社保,劳资关系紧张

从员工组成机构上来看,截至 2023 年 6 月末,宏海科技拥有 588 名员工,其中学历在本科及以上共 18 人,专科及以下的 570 人,这也意味着,96.94% 的员工学历在专科及以下。

令人不解的是,国家企业信用信息公示系统显示,2023 年宏海科技共有 288 人缴纳了社保。这就不禁令人疑惑,2023 年下半年,宏海科技是有大量员工离职?还是宏海科技存在未给员工缴纳社保的情形?

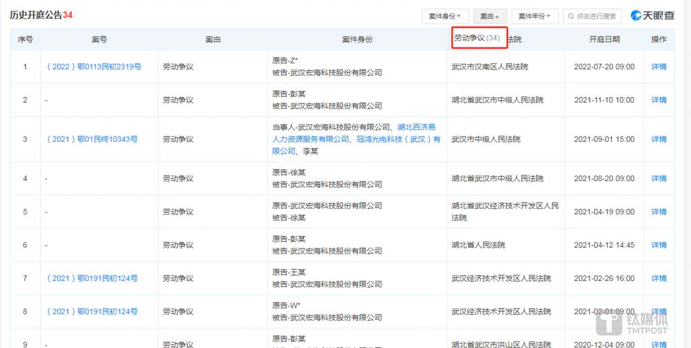
另外,钛媒体 APP 注意到,宏海科技还与员工存在不少的劳务纠纷。天眼查显示,宏海科技曾 34 次因与员工的劳务争议而对簿公堂。

特别是 2021 年和 2019 年,宏海科技先后两次因劳务争议成为了被执行人。

对此,北交所要求宏海科技说明是否存在劳务派遣、劳务外包、非全日制劳动合同、退休返聘等用工形式,如存在,披露具体情况,相关劳务用工是否符合 《劳动法》、《劳动合同法》 等法律法规的规定。以及充分揭示是否存在受到行政处罚或接受员工劳动仲裁的风险,并量化分析如涉及前述情形对发行人财务指标的影响。

除了员工情况外,宏海科技的股东情况也令人费解。招股说明书显示,在此次 IPO 股票发行前,周宏、周子依、袁兴理、李诗琪、岳玲等均是公司股东,总股本为 1 亿股,具体情况如下:

然而,国家企业信用信息公示系统显示,2023 年,宏海科技仅有周宏一名股东,并且通过认缴和实缴出资额均为 2041.83 万元。

为何国家企业信用信息公示系统出现的数据与宏海科技招股说明书中的信息相差如此大?(本文首发于钛媒体 APP,作者|邓皓天)



Related articles

车企扎堆储能,因湃的「半固态」能杀出重围吗?|钛度车库

车企扎堆储能,因湃的 「半固态」 能杀出重围吗?|钛度车库

2026 年 4 月 2 日
比亚迪2025财报:大体量时代,真正稀缺的是韧性

比亚迪 2025 财报:大体量时代,真正稀缺的是韧性

2026 年 4 月 2 日
广告

相关 文章

车企扎堆储能,因湃的「半固态」能杀出重围吗?|钛度车库

车企扎堆储能,因湃的 「半固态」 能杀出重围吗?|钛度车库

来自 周天财经
2026 年 4 月 2 日
0

图片系 AI 生成储能行业现在什么局面?一边...

比亚迪2025财报:大体量时代,真正稀缺的是韧性

比亚迪 2025 财报:大体量时代,真正稀缺的是韧性

来自 周天财经
2026 年 4 月 2 日
0

如果把 2025 年的汽车行业放在一条时间线...

39岁张雪刷屏:初中辍学、2万闯重庆、干翻杜卡迪,这才是中国男人的热血

39 岁张雪刷屏:初中辍学、2 万闯重庆、干翻杜卡迪,这才是中国男人的热血

来自 周天财经
2026 年 4 月 2 日
0

张雪赢了,赢的是一场比赛,更是中国男人的...

决战1500万:智驾下沉,从「能用」到「好用不贵」

决战 1500 万:智驾下沉,从 「能用」 到 「好用不贵」

来自 周天财经
2026 年 4 月 2 日
0

文 | 电厂,作者 | 花子健,编辑 |...

对话周亚辉:「一人公司」火爆,企业级Agent才是金矿

对话周亚辉:「一人公司」 火爆,企业级 Agent 才是金矿

来自 周天财经
2026 年 4 月 1 日
0

天工 AI 董事长兼 CEO 周亚辉,图片来源...

加载更多
广告
  • 热门
  • 评论
  • 最新
神马经典投研: 集资讯、策略、研报一站式期货投研工具

神马经典投研: 集资讯、策略、研报一站式期货投研工具

2025 年 11 月 7 日
「我们也深陷残酷价格战」,德资巨头中国区高管警告

「我们也深陷残酷价格战」,德资巨头中国区高管警告

2025 年 8 月 4 日
一周产业基金|上海市人工智能CVC基金发布;湖北百亿人形机器人母基金来了

一周产业基金|上海市人工智能 CVC 基金发布;湖北百亿人形机器人母基金来了

2025 年 8 月 4 日
「硬科技」指数携手上涨,半导体设备ETF易方达(159558)、芯片ETF易方达(516350)等产品助力布局板块龙头

基民懵了!这个火爆的板块年内涨超 37%,主力却借道 ETF 狂抛逾 400 亿元

2025 年 9 月 20 日
Lesson 1: Basics Of Photography With Natural Lighting

The Single Most Important Thing You Need To Know About Success

4
Lesson 1: Basics Of Photography With Natural Lighting

Lesson 1: Basics Of Photography With Natural Lighting

3
Lesson 1: Basics Of Photography With Natural Lighting

5 Ways Animals Will Help You Get More Business

2
Lesson 1: Basics Of Photography With Natural Lighting

New Cryptocurrency That Will Kill Of Bitcoin

2
内地大厂,抢滩香港

认识新一代股息贵族

2026 年 4 月 3 日

星海图再获 20 亿 B+轮融资,具身智能赛道 2026 年融资事件激增 63%

2026 年 4 月 3 日

券商资管 2025 年成绩单出炉:两家营收超 20 亿,这家机构亏损超 6 亿元,什么情况?

2026 年 4 月 3 日

5 亿元逆回购什么信号?业内:银行已完成过半新增信贷 KPI 二季度流动性保持稳中偏松

2026 年 4 月 3 日
  • 隐私政策
  • 联系我们
  • 关于周天
  • 登录
  • 注册
投诉建议:+86 13326565461

© 2025 广州小舟天传媒有限公司 by 周天财经 - 粤 ICP 备 2025452169 号-1

没有结果
查看所有结果
  • 首页
  • 24 小时
  • 世界
  • 商业
  • 基金
  • 期货
  • 股票
  • 行业新闻
  • 黄金

© 2025 广州小舟天传媒有限公司 by 周天财经 - 粤 ICP 备 2025452169 号-1

欢迎回来!

在下面登录您的帐户

忘记密码? 注册

创建新帐户!

填写以下表格进行注册

所有项目需要填写。 登录

重置您的密码

请输入您的用户名或电子邮件地址以重置密码。

登录

用户登录

还没有账号?立即注册

用户注册

已有账号?立即登录